計装設計
業務内容
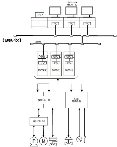
| 制御システム設計 | 制御システムとは、工場や発電所などのプラントが安全かつ効率的に稼働するための「頭脳」であるため、非常に重要な役割を担っています。 さらなる安全性、信頼性向上のため、SIL(安全度水準)を適用したSIS(Safety Instrumented System)を導入するケースも増えてきています。 その設計は主に以下の手順に沿って進められ、各種プラントで豊富な経験を持つエンジニアがチームを組み、対応します。
|
|---|---|
| 計器設計 | プラントの安全性・効率性・自動化を目的として、プラント内の圧力・温度・流量・レベルなどのプロセス変数を測定し、制御するために必要な計器類・自動弁を測定対象や設置環境に応じて適切な選定を行います。 |
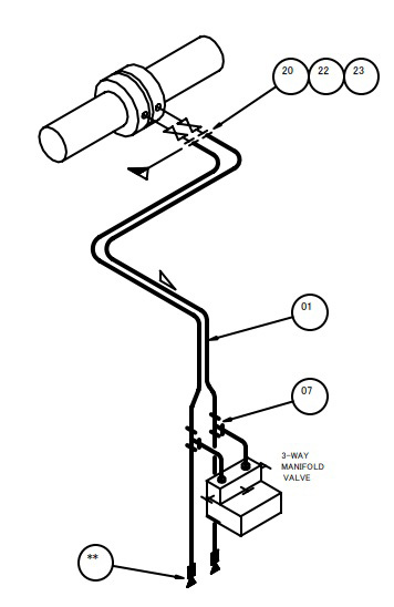
| 計装工事設計 | 上記の制御システムと計器に対して、以下の工事設計を行います。
|

- システム系統図

- 導圧配管要領図

- DCSグラフィック


